Datenblatt für TMS320DM6437ZDU7 von Texas Instruments
l TEXAS
INSTRUMENTS
l TEXAS
INSTRUMENTS
l TEXAS
INSTRUMENTS
SPRU732
l TEXAS
INSTRUMENTS
l TEXAS
INSTRUMENTS
newer H amuse" was ‘DbDAC
can
Mm x mm Em, mm
Vmeu 3A H IVENC? mama
\
\
1 summer
\
\nlerlaca
Prewew M mb DAG ‘
HART
Walchflag
nmer
DMA
ngnmy‘D
/_/\_\
DDR2
Mam cw
«32m
l TEXAS
INSTRUMENTS
1
1 Q
g fl
5
7 @
g g
5 m
3 m
L2 M
L3 m
L7 m
L5 &
L“ m
7,0 &
l2 23,7
E 24,!
B m
B
L7 E
g]
92 &
95 m
99 m
1 52 m
1 54 234‘
156 28;?
1 56 g
153 &
2977
1,58 E
m &
m
00
‘3
o
l TEXAS
INSTRUMENTS
l TEXAS
INSTRUMENTS
SPRZZSO
l TEXAS
INSTRUMENTS
l TEXAS
INSTRUMENTS
SPRU732
SPRU871
SPRAA84
SPRU862
l TEXAS
INSTRUMENTS
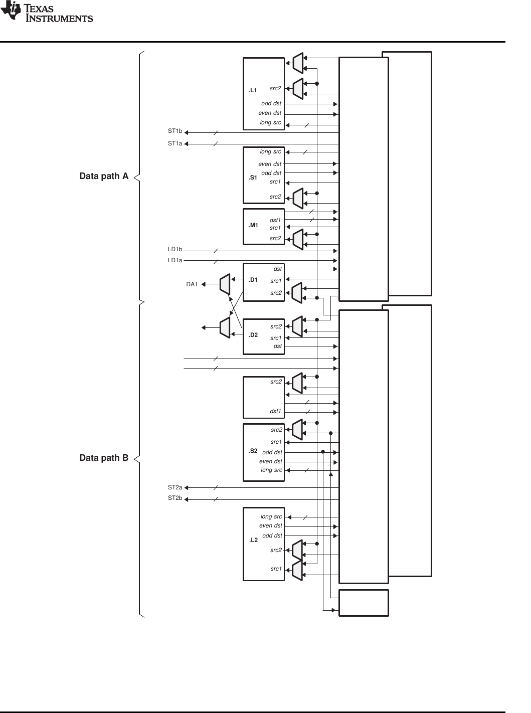
DaIa path A
Dan path B
1, 5702
m d5}
Even d5}
lung SH:
sn :7
sm
lung in:
m" d5}
ma d5}
'5‘ 5ch
5702
mm
mm
sn:2
srcY
52 add US!
m" :15!
lung src
STZIA
STeb
long an
m" :15!
m :15!
,Lz
sn:2
l TEXAS
INSTRUMENTS
l TEXAS
INSTRUMENTS
l TEXAS
INSTRUMENTS
SPRAAGO
l TEXAS
INSTRUMENTS
l TEXAS
INSTRUMENTS
l TEXAS
INSTRUMENTS
l TEXAS
INSTRUMENTS
V‘
U
,m, ,flr, T6 ‘7'”?{77 ‘9
‘37
I TEXAS
INSTRUMENTS
“ ‘2
u:
w
m
l TEXAS
INSTRUMENTS
, 7774* ""57 7/7 5 7 a 9 ‘0
‘
‘
‘
‘
‘
‘
‘
‘
‘
5 s 7 a 9 m
l TEXAS
INSTRUMENTS
l TEXAS
INSTRUMENTS
TEXAS
INSTRUMENTS
‘z
‘2
a
m
w
m
2n
2‘
22
l TEXAS
INSTRUMENTS
37 V r w “
‘
‘
‘
‘
‘
‘
‘
‘
‘
‘
7 ‘
3 5 m “
l TEXAS
INSTRUMENTS
l TEXAS
INSTRUMENTS
l TEXAS
INSTRUMENTS
l TEXAS
INSTRUMENTS
l TEXAS
INSTRUMENTS
l TEXAS
INSTRUMENTS
l TEXAS
INSTRUMENTS
l TEXAS
INSTRUMENTS
l TEXAS
INSTRUMENTS
l TEXAS
INSTRUMENTS
l TEXAS
INSTRUMENTS
l TEXAS
INSTRUMENTS
l TEXAS
INSTRUMENTS
l TEXAS
INSTRUMENTS
l TEXAS
INSTRUMENTS
l TEXAS
INSTRUMENTS
l TEXAS
INSTRUMENTS
l TEXAS
INSTRUMENTS
l TEXAS
INSTRUMENTS
l TEXAS
INSTRUMENTS
l TEXAS
INSTRUMENTS
l TEXAS
INSTRUMENTS
l TEXAS
INSTRUMENTS
l TEXAS
INSTRUMENTS
l TEXAS
INSTRUMENTS
l TEXAS
INSTRUMENTS
l TEXAS
INSTRUMENTS
l TEXAS
INSTRUMENTS
l TEXAS
INSTRUMENTS
l TEXAS
INSTRUMENTS
l TEXAS
INSTRUMENTS
l TEXAS
INSTRUMENTS
l TEXAS
INSTRUMENTS
l TEXAS
INSTRUMENTS
l TEXAS
INSTRUMENTS
l TEXAS
INSTRUMENTS
l TEXAS
INSTRUMENTS
l TEXAS
INSTRUMENTS
l TEXAS
INSTRUMENTS
l TEXAS
INSTRUMENTS
l TEXAS
INSTRUMENTS
l TEXAS
INSTRUMENTS
l TEXAS
INSTRUMENTS
l TEXAS
INSTRUMENTS
l TEXAS
INSTRUMENTS
l TEXAS
INSTRUMENTS
l TEXAS
INSTRUMENTS
l;
l TEXAS
INSTRUMENTS
SPRU978
SPRU983
SPRAA84
SPRU732
SPRUS71
l TEXAS
INSTRUMENTS
l TEXAS
INSTRUMENTS
SPRU978
SPRUQSS
l TEXAS
INSTRUMENTS
l TEXAS
INSTRUMENTS
l TEXAS
INSTRUMENTS
SPRUQBS
SPRU978
l TEXAS
INSTRUMENTS
l TEXAS
INSTRUMENTS
SPRU952
l TEXAS
INSTRUMENTS
l TEXAS
INSTRUMENTS
SPRAAGO
l TEXAS
INSTRUMENTS
SPRAAGO
l TEXAS
INSTRUMENTS
SPRAAGO
l TEXAS
INSTRUMENTS
SPRAAGO
SPRAAGO
l TEXAS
INSTRUMENTS
SPRAAGO
l TEXAS
INSTRUMENTS
SPRU991
l TEXAS
INSTRUMENTS
SPRU997
l TEXAS
INSTRUMENTS
l TEXAS
INSTRUMENTS
l TEXAS
INSTRUMENTS
SPRAAGO
l TEXAS
INSTRUMENTS
l TEXAS
INSTRUMENTS
l TEXAS
INSTRUMENTS
l TEXAS
INSTRUMENTS
I TEXAS
INSTRUMENTS
l TEXAS
INSTRUMENTS
l TEXAS
INSTRUMENTS
SPRU998
l TEXAS
INSTRUMENTS
SPRU987
l TEXAS
INSTRUMENTS
l TEXAS
INSTRUMENTS
B‘Dl‘
U
E
m1 ax no
YIMIIBK no
E
E
\_l
as» um
WEN u
AEM uu
AEM m
mm
l TEXAS
INSTRUMENTS
l TEXAS
INSTRUMENTS
l TEXAS
INSTRUMENTS
l TEXAS
INSTRUMENTS
l TEXAS
INSTRUMENTS
l TEXAS
INSTRUMENTS
l TEXAS
INSTRUMENTS
l TEXAS
INSTRUMENTS
l TEXAS
INSTRUMENTS
l TEXAS
INSTRUMENTS
l TEXAS
INSTRUMENTS
l TEXAS
INSTRUMENTS
l TEXAS
INSTRUMENTS
l TEXAS
INSTRUMENTS
l TEXAS
INSTRUMENTS
l TEXAS
INSTRUMENTS
l TEXAS
INSTRUMENTS
l TEXAS
INSTRUMENTS
l TEXAS
INSTRUMENTS
l TEXAS
INSTRUMENTS
l TEXAS
INSTRUMENTS
l TEXAS
INSTRUMENTS
l TEXAS
INSTRUMENTS
l TEXAS
INSTRUMENTS
l TEXAS
INSTRUMENTS
l TEXAS
INSTRUMENTS
l TEXAS
INSTRUMENTS
l TEXAS
INSTRUMENTS
l TEXAS
INSTRUMENTS
l TEXAS
INSTRUMENTS
l TEXAS
INSTRUMENTS
l TEXAS
INSTRUMENTS
l TEXAS
INSTRUMENTS
l TEXAS
INSTRUMENTS
l TEXAS
INSTRUMENTS
l TEXAS
INSTRUMENTS
l TEXAS
INSTRUMENTS
l TEXAS
INSTRUMENTS
l TEXAS
INSTRUMENTS
l TEXAS
INSTRUMENTS
l TEXAS
INSTRUMENTS
l TEXAS
INSTRUMENTS
l TEXAS
INSTRUMENTS
l TEXAS
INSTRUMENTS
l TEXAS
INSTRUMENTS
l TEXAS
INSTRUMENTS
l TEXAS
INSTRUMENTS
l TEXAS
INSTRUMENTS
l TEXAS
INSTRUMENTS
l TEXAS
INSTRUMENTS
l TEXAS
INSTRUMENTS
l TEXAS
INSTRUMENTS
SPRAAGO
SPRU978
SPRU978
SPRU871
SPRAAGO
l TEXAS
INSTRUMENTS
SPRUQBB
l TEXAS
INSTRUMENTS
l TEXAS
INSTRUMENTS
l TEXAS
INSTRUMENTS
l TEXAS
INSTRUMENTS
l TEXAS
INSTRUMENTS
SPRAAL9
SPRAALS
l TEXAS
INSTRUMENTS
SPRAAOG
l TEXAS
INSTRUMENTS
l TEXAS
INSTRUMENTS
\
20 : SD 0
[see Nola)
l TEXAS
INSTRUMENTS
SPRA839
SPRAALS
ww com/dsggcwer
www.ti.com/dsgpower
SPRAALS
l TEXAS
INSTRUMENTS
l TEXAS
INSTRUMENTS
l TEXAS
INSTRUMENTS
l TEXAS
INSTRUMENTS
¢
L
¢
L
\__F
SPRU978
l TEXAS
INSTRUMENTS
l TEXAS
INSTRUMENTS
l TEXAS
INSTRUMENTS
SPRU987
l TEXAS
INSTRUMENTS
SPRU987
l TEXAS
INSTRUMENTS
l TEXAS
INSTRUMENTS
l TEXAS
INSTRUMENTS
l TEXAS
INSTRUMENTS
l TEXAS
INSTRUMENTS
l TEXAS
INSTRUMENTS
l TEXAS
INSTRUMENTS
l TEXAS
INSTRUMENTS
l TEXAS
INSTRUMENTS
l TEXAS
INSTRUMENTS
l TEXAS
INSTRUMENTS
l TEXAS
INSTRUMENTS
l TEXAS
INSTRUMENTS
SPRAAGO
l TEXAS
INSTRUMENTS
SPRAAGO
SPRAAGO
l TEXAS
INSTRUMENTS
SPRU978
SPRU978
SPRU978
l TEXAS
INSTRUMENTS
l TEXAS
INSTRUMENTS
l TEXAS
INSTRUMENTS
i TEXAS
INSTRUMENTS
l TEXAS
INSTRUMENTS
l TEXAS
INSTRUMENTS
l TEXAS
INSTRUMENTS
I TEXAS
INSTRUMENTS
m
S
1!
a
/
I TEXAS
INSTRUMENTS
l TEXAS
INSTRUMENTS
SPRU978
l TEXAS
INSTRUMENTS
SPRU978
l TEXAS
INSTRUMENTS
l TEXAS
INSTRUMENTS
SPRU978
14* 4'1
‘ ‘ ‘
J\}\}\j\/(4\L4\
l TEXAS
INSTRUMENTS
SPRU978
l TEXAS
INSTRUMENTS
l TEXAS
INSTRUMENTS
l TEXAS
INSTRUMENTS
SPRUQSS
SPRU984
l TEXAS
INSTRUMENTS
l TEXAS
INSTRUMENTS
l TEXAS
INSTRUMENTS
‘5‘ TEXAS
INSTRUMENTS
”3qu
E: H
H$x
1%}
XHX‘CL
‘5‘ TEXAS
INSTRUMENTS
“4‘
P‘
1\\\\ \\
E? F
xwxut‘t
‘Hxflmj fix
144‘ 1%
TX
l TEXAS
INSTRUMENTS
l TEXAS
INSTRUMENTS
SPRUQBB
SPRAALG
SPRAALG
l TEXAS
INSTRUMENTS
l TEXAS
INSTRUMENTS
l TEXAS
INSTRUMENTS
l TEXAS
INSTRUMENTS
l TEXAS
INSTRUMENTS
l TEXAS
INSTRUMENTS
l TEXAS
INSTRUMENTS
l TEXAS
INSTRUMENTS
‘5‘ TEXAS
INSTRUMENTS
‘5‘ TEXAS
INSTRUMENTS
l TEXAS
INSTRUMENTS
’ \ / 7‘ / \ / \ /
r744
EX x‘ >‘< x="" l="" ‘rh="">< x="" x="" x="" l="" l744="" q="" x="" x4="" x="">
l TEXAS
INSTRUMENTS
l TEXAS
INSTRUMENTS
l TEXAS
INSTRUMENTS
l TEXAS
INSTRUMENTS
l TEXAS
INSTRUMENTS
l TEXAS
INSTRUMENTS
‘5‘ TEXAS
INSTRUMENTS
Jka
l TEXAS
INSTRUMENTS
A, VCTL : HSYNC and VSVNC
‘5‘ TEXAS
INSTRUMENTS
‘5‘ TEXAS
INSTRUMENTS
l TEXAS
INSTRUMENTS
l TEXAS
INSTRUMENTS
WP
l TEXAS
INSTRUMENTS
l TEXAS
INSTRUMENTS
l TEXAS
INSTRUMENTS
11H
Data Bits
‘5‘ TEXAS
INSTRUMENTS
SE
l TEXAS
INSTRUMENTS
‘5‘ TEXAS
INSTRUMENTS
4w
{L} TEXAS
INSTRUMENTS
LT
4x
4‘
l TEXAS
INSTRUMENTS
SPRU998
l TEXAS
INSTRUMENTS
l TEXAS
INSTRUMENTS
l TEXAS
INSTRUMENTS
* —\ /—\ /—
H w
J44 ‘ 4—H ‘
"cum: -‘<::>‘_‘<::>‘—
\ ‘ ‘ +49%
Ham ‘ —
44—4 ‘ 1 Ht?»
‘47 4n f 4‘
mum \‘ f‘ \‘ 1‘
\ \ \
H 44 154—»
‘ 1 H” 1 1 Alf—H
HD[I5:0] 1 \ a w \ H \W \ \ \
(output)
‘ , j—pri lslHall-Word
\ 7*
HFDWED / \
{L} TEXAS
INSTRUMENTS
l TEXAS
INSTRUMENTS
SPRU943
l TEXAS
INSTRUMENTS
l TEXAS
INSTRUMENTS
l TEXAS
INSTRUMENTS
{L} TEXAS
INSTRUMENTS
{L} TEXAS
INSTRUMENTS
l TEXAS
INSTRUMENTS
l TEXAS
INSTRUMENTS
‘5‘ TEXAS
INSTRUMENTS
l TEXAS
INSTRUMENTS
l TEXAS
INSTRUMENTS
l TEXAS
INSTRUMENTS
V—‘
{}
l TEXAS
INSTRUMENTS
l TEXAS
INSTRUMENTS
l TEXAS
INSTRUMENTS
l TEXAS
INSTRUMENTS
TEXAS
INSTRUMENTS
4k
4 a J H
l #4
+l Mu l
WVWVWWWVWM
MWWWWVVVVVWVVVV
J
l
4 Lf
AFSR/X(Bi1Wid1h, 0 EH Delay) m
AFSR/X(Bi1Wid1h, I all Delay)
AFSR/X(Bi1Wid1h, 2 all Delay)
AFSR/X(Slo1wid1h, 0 EH Delay) —/1—H—\—) /—“—
\
AFSR/X(Slo1wid1h, I all Delay) /—‘—“ I'—\ I—“—
\
AFSR/X(Slo1wid1h, 2 all Delay) /—l—“\ /—”—
\
4&3
+1 #7
A0 A1 A30 A31 Bo E1 Ban I331 ca CI 02 ca 031
i TEXAS
INSTRUMENTS
emwww
AHCLKmx (Rising Edge Poiariiv) WW
"4" H‘VIZ
l “W al
WWW/vvvvw
WWWM
‘ ‘ #Wua ‘
1:4 ‘4” F713 13; )«
AFSR/X (Bil Wimh,oBiu Delay) ”L «
AFSR/X(Bitwidth,IBitDelay) fl k
AFSR/X(Bitwidth,2BitDelay) J\\ l
i l i—‘*
AFSR/X (sum Width, 0 all Delay) 5 Q fl ‘ l
AFSR/X (sum wumuu, u all Delay) m I l l
AFSR/X (sum wumuu, 2 all Delay) fl % u“) f l
I )—J‘ F
l l
5 a
I
?
iaeeeeeeeeeee
T
AXR[n] (Dam ommansmuu)
AD A1 A30A31 ED 51 BSD BQI CD C1 CZ 03 CC“
l TEXAS
INSTRUMENTS
l TEXAS
INSTRUMENTS
SPRU981
l TEXAS
INSTRUMENTS
l TEXAS
INSTRUMENTS
l TEXAS
INSTRUMENTS
l TEXAS
INSTRUMENTS
l TEXAS
INSTRUMENTS
l TEXAS
INSTRUMENTS
l TEXAS
INSTRUMENTS
l TEXAS
INSTRUMENTS
l TEXAS
INSTRUMENTS
l TEXAS
INSTRUMENTS
l TEXAS
INSTRUMENTS
OVVVVVO'O'O'O'O'O'O'O'O'O'O OV'O'O'OVI
- mm2z¢¢¢¢¢¢¢¢v - _ arms:
w¢;¢'~;¢;¢'¢;¢;¢;¢
3’3'3’3‘3‘3‘3‘3‘3‘3‘3‘3’3’3’3’3’3’3’3'3’3’e
‘Mofomfmmm
O‘Q‘Q‘Q‘Q‘Q‘0333333333333
OVVVVVVVV
_ ‘ofofofofofofofo‘
:2
l TEXAS
INSTRUMENTS
l TEXAS
INSTRUMENTS
‘
‘ ‘
MDIo 9999999 9999‘ ‘99 99999
(inpuu ’9’9’9‘9’9’9‘9‘”‘9’9"9’9’9‘9’9‘9'9’9‘9’9‘9‘9’9‘9‘9’9‘9‘9‘ ’92929292929292929292929292929292929
AAAAAAAAAAAAAAAAAAAAAAAAAAAAAAA
7 ‘
‘
MDIO '9'9'9'9'9'9'9'9'9'9'9'9'9'9'9'9'9'9'9'9'9'9'"9"9'9'9'9'9‘ 9'9"'9'9'9'9'9'9'9'9'9'9'9'9'9'9
WW) ’9‘9’9‘9’9’9‘9‘9’9‘9‘9’9’9’9‘9‘9’9‘9‘9’9’9‘9’9‘9’9’9‘9‘9’9‘9‘9‘ ‘9’9‘9‘9‘9’9‘9’9‘9’9’9‘9‘9’9‘9‘9’9’9
l TEXAS
INSTRUMENTS
l TEXAS
INSTRUMENTS
l TEXAS
INSTRUMENTS
SPRUQSS
SPRAAGO
l TEXAS
INSTRUMENTS
l TEXAS
INSTRUMENTS
l TEXAS
INSTRUMENTS
l TEXAS
INSTRUMENTS
l TEXAS
INSTRUMENTS
l TEXAS
INSTRUMENTS
l TEXAS
INSTRUMENTS
vmccum _/—\
L— —q
PWMD d X 3‘\ |
\
LX X ‘k |
\
‘ ‘
W X \ |
l TEXAS
INSTRUMENTS
l TEXAS
INSTRUMENTS
‘5‘ TEXAS
INSTRUMENTS
‘5‘ TEXAS
INSTRUMENTS
l TEXAS
INSTRUMENTS
SPRUQSB
l TEXAS
INSTRUMENTS
l TEXAS
INSTRUMENTS
l TEXAS
INSTRUMENTS
l TEXAS
INSTRUMENTS
l TEXAS
INSTRUMENTS
r——*}
J—\—k—\_
| i ‘ )C
HHfl
l TEXAS
INSTRUMENTS
SPRAALQ
l TEXAS
INSTRUMENTS
I TEXAS
INSTRUMENTS
Samples
Sample:
Sample:
Samples
Samples
Samples
Samples
Samples
Samples
I TEXAS
INSTRUMENTS
Sample:
Sample:
I TEXAS
INSTRUMENTS
MECHANICAL DATA
Sfxifx 36” 3‘ ASTKT RA GR 7 ARV/"xv
\
4
.
J:
T
v
OOOOOOOOOéOOOOOOOOO
000000000 000000000
OOOOOOOOO$OOOOOOOOO
000000000 000000000
OOOOOOOOO§OOOOOOOOOi4L
CODOOOODO DODGODOOOi‘r
000000000 000000000
OOOOOOOOOgOOOOOOOOO
OOOOOCOOOEEOOOOOOOOO
i *09-90—9—09—9 990969-607
000000000 000000000
000000000 000000000
OOOOOOOOO$OOOOOOOOO
000000000 000000000
000000000 000000000
000000000 000000000
000000000 000000000
OOOOOOOOO$OOOOOOOOO
COOOOOODOQOODOOOOOO
NO'ES' AH Hnecr dimensmrs e m m'mmmrs Dxmensiowmq an: tu‘eranc'wg per ASME w W 199/.
Tm drawer ‘5 3mg :0 change wnrau: name,
Tm \s a =34ree sewer baH deswgn
mHs wmhm JEUEC MUizlb
Oom>
{if TEXAS
INSTRUMENTS
Ww.ti.com
MECHANICAL DATA
ZDU (S—PBGA—N376) PLASTIC BALL GRID ARRAY
7,00 VP
0
m
0
0
r
0000
0000
0000
00000
00000
00000
00000000000
000000
000000
000000
000000
000000
000000
00000000000000000000
I
000000000
00000000000000000000
00000000000000000000
00000000000000000000
000
I3 I5 I7 I9 TI
'0 I2 I4 IE IS 20 22
Boituvr VIew
IH’iE
L23675274/E II/OE
NO'ES' NI IInec' dImenSIurS c'e III m'IImeIerS
TI‘IS deInq IS subje», 0 change mm: Home,
IUIIS wIIhm JEDLC MEIrIz)‘
Immuy cmanccd mcIdcd pasch package mm m: SLq (HSL)
Th3 IS C Icadifrcc so do“ baII CCSIgr
mcnm>
‘4" Ms
INSTRUMENTS
www.li.com


