Integrated Devices for Internet of Things Energy Measurement and Management
Zur Verfügung gestellt von Electronic Products
2014-01-22
Just as the Internet has connected people and organizations, the Internet of Things (IoT) is expected to connect deeply embedded devices and sensors. With devices anticipated to number in the billions, however, the IoT represents a new kind of environment where devices continuously feed into streams of data for analysis by cloud-based "big data" applications and respond directly to control instructions from those applications and users. Between the devices and the cloud, IoT gateways work to aggregate, analyze, and control the data stream and the devices feeding it. At the same time, these gateways provide their users with a more immediate channel to manage diverse interconnected devices and their data through simple mobile interfaces running on smartphones and tablets.
Gateways for the IoT are designed to connect diverse devices into a cohesive control and energy management system extending from embedded sensors to cloud-based applications. For energy devices such as smart meters, IoT gateways provide powerful local processing capabilities, enabling designers to offload application code from smart meters and rely on simpler, cost-effective designs for these dedicated measurement systems. Engineers can create cost-effective IoT gateway designs using a combination of specialized energy measurement ICs, MCUs, and MPUs from Analog Devices, Atmel, Cirrus Logic, Freescale Semiconductor, Maxim Integrated, Microchip Technology, STMicroelectronics, and Texas Instruments, among others.
IoT architectures
IoT architectures offer the diverse connectivity options required to connect multiple types of applications such as smart meters, thermostats, solid-state lighting, smart appliances, and the like. At a minimum, IoT gateways provide Wi-Fi and Ethernet communications options to bridge the connection between these devices and users (and the cloud). As a result, consumers can simply use their Wi-Fi-enabled mobile computing devices or Ethernet-connected computers to interact with appliances, monitor real-time energy consumption, and control energy usage.
For interacting with myriad peripheral devices and sensors, IoT gateway designers will typically find a need to support a correspondingly diverse set of connectivity options, including ZigBee and power-line communications for smart meters or Z-Wave for lighting control and automation, among many others. For near-field communications applications such as prepayment or mobile device pairing, gateway designers will also face requirements to support Bluetooth and NFC (Near Field Communications) protocols.
While gateways need to support multiple connectivity options, their local processing capability elevates these systems well above simple multiprotocol communications interfaces. At the heart of IoT gateway systems, powerful processors manage communications, perform signal processing, and execute sophisticated control applications locally rather than requiring detailed instructions from the cloud (Figure 1). Typically, these systems rely on full-featured operating systems such as Linux running on ARM® Cortex™ A-series-based processors such as the Texas Instruments Sitara AM335x ARM Cortex-A8-based processor, or Freescale Semiconductor i.MX 6SL (single-core) or i.MX 6DL (dual-core) of ARM Cortex-A9-based processors.

For most energy-management applications, the smart meter and similar energy-measurement subsystems inevitably serve as critical elements, providing information on energy usage and enabling optimization of energy consumption. For designers, the desire for finer control over energy monitoring and improved integration with management systems has led to an increase in complexity in these measurement systems as requirements push toward more advanced functionality.
Applications challenges
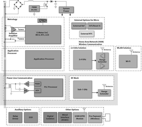
At the same time, regulatory requirements have constrained the nature of applications that can be combined with energy-measurement functionality. As a result, more sophisticated energy-measurement systems have evolved to split functionality between energy measurement and applications processing (Figure 2).

IoT gateways can provide the resources needed to offload dedicated energy-measurement applications, while relying on dedicated subsystems for energy measurement. In the past, energy-measurement subsystems combined a separate analog front-end for energy measurement with an embedded processor for power calculations. By combining an analog front-end and processor into a single chip, energy-metering ICs have simplified energy-monitoring design. In fact, these devices have opened the door for integration of energy-measurement functionality intended to help consumers optimize energy consumption in smart appliances and white goods.
Within the smart meter or appliance energy monitor itself, single-chip energy-metering ICs can perform sophisticated energy measurements, but typically lack the performance needed for more advanced capabilities. Single-chip energy-metering ICs typically combine an MCU core with high-accuracy, on-board ADCs and specialized signal-chains designed to enhance measurement features while minimizing external components. Engineers can find devices that measure power-line characteristics and report a broad range of energy characteristics.
Devices in this class, including the Microchip Technology MCP3905A, STMicroelectronics STPM01, Maxim Integrated 78M6610, Cirrus Logic CS5467, and Atmel ATM90E32AS, measure line voltage and current and calculate energy parameters. Typically, these devices include additional inputs for temperature along with support for additional sensor inputs, as well as specialized ports for tamper detection.
Within these devices, MCU/DSP cores serve as power calculation engines, analyzing voltage, current, and phase to calculate active energy, reactive energy, and power factor. The Analog Devices ADE5169 includes an efficient single-cycle 8052 MCU core as well as a dedicated signal-processing block for energy measurement (Figure 3). As with many devices in this class, the ADE5169 includes an on-chip LCD driver designed to simplify design and reduce component count for dedicated energy-management units with integrated displays.

These devices provide multiple serial and parallel output ports able to transmit energy measurements directly to the IoT gateway or through an associated wired or wireless communications subsystem. In turn, the IoT gateway can execute application code needed to provide users with additional energy-management features beyond the capabilities of the single-chip energy-metering ICs themselves. With the emergence of the IoT gateway, energy-management architects gain the efficiency of these single-chip energy meters without compromising on their ability to deliver more sophisticated applications.
Conclusion
IoT gateways offer a key aggregation capability for energy-measurement devices located not only in smart meters, but increasingly within energy-consuming appliances themselves. What's more, these gateways base their capabilities on powerful processors able to execute full-feature operating systems and applications code. By offloading applications processing to the IoT gateways, designers can simplify design of energy-measurement systems, relying on the gateway to provide applications features not possible with single-chip energy-metering ICs.
Haftungsausschluss: Die Meinungen, Überzeugungen und Standpunkte der verschiedenen Autoren und/oder Forumsteilnehmer dieser Website spiegeln nicht notwendigerweise die Meinungen, Überzeugungen und Standpunkte der DigiKey oder offiziellen Politik der DigiKey wider.

