Combine an MCU and Analog Front End to Implement PLC Solutions
Zur Verfügung gestellt von Electronic Products
2012-05-16
A plethora of embedded systems ranging from motor control to smart-energy applications need connectivity, and the ever-present power line may provide the most convenient media for such connectivity. Moreover, power-line communications (PLC) will likely prove vital to the smart home. However, power-line communications require robust digital signal processing (DSP) and an analog front end (AFE) that can tolerate the harsh signaling environment of the AC line. Still, DSP-enabled microcontrollers (MCUs) combined with an AFE can handle the application. Let us examine one possible MCU/AFE combination relative to a smart home, a design and development tool, and some alternative power-line-communication ICs.
The illustration supplied by Texas Instruments (TI) in Figure 1 provides an excellent summary of a smart home. Elements including lighting, the HVAC system, appliances, and entertainment devices all connected to a home-automation network. Wireless technology such as ZigBee may enable some of the network links, but a power-line network is the obvious choice for products such as appliances. Moreover, communications between the utility and a smart meter are most easily served by PLC. The wireless and power-line networks are easily connected via a bridge.

The smart-home concept includes elements that are primarily conveniences or luxuries, but also elements paramount to reducing power consumption and dodging a potential global energy crisis. Consumers would surely enjoy the convenience of programmable lighting control or the ability to remotely raise the thermostat on the hot tub. Those same control capabilities can slash energy use by ensuring that devices get powered off and by working with utility demand-management strategies.
Clearly the smart home concept is compelling, but there is an important cost angle as well. If the premium associated with adding communications capabilities to appliances and other home goods isn't affordable, the technology will not move forward. That cost angle is why it's significant that relatively-low-cost MCUs can handle the task at hand.
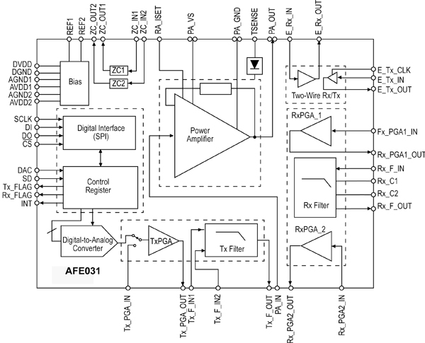
Analog front end
To illustrate the design challenge, let's have a look at TI's approach to PLC. TI recently introduced the AFE031 AFE, and suggests pairing that IC with a C2000-family DSP-enabled MCU. The block diagram in Figure 2 depicts the internal architecture of the AFE031. The IC includes a power amplifier (PA) to drive a signal at levels to 1.5 A on to the power line. The integrated receiver can detect signals as low as 20 µV.
Generally, the modulation scheme and communication protocol used in a power-line-network connection are implemented in software. A software implementation allows flexibility in terms of the choice of modulation and protocol schemes, and the convenience of easy updates as PLC standards evolve for such schemes. The AFE031 IC can be used in a variety of modulation schemes including spread frequency shift key (S-FSK) and orthogonal frequency-division multiplexing (OFDM) modulation, which have gained favor in power-line networks.

The TI C2000 family (C2000 power line modem dev kit) includes a number of MCU lines capable of meeting the power-line-modem processing requirements. These products are also sometimes called digital signal controllers (DSC) due to the math capabilities integrated on the MCUs. In fact, the TI MCUs we will discuss evolved from the company's dedicated DSP-centric processors that are sometimes confusingly referred to as digital signal processors and ambiguously shortened to DSPs.
MCU/DSC options
At the low end, the TMS320F280X Piccolo MCU family includes devices that can operate over clock frequencies ranging from 40 to 80 MHz. In a Piccolo-based design, the MCU would likely be completely dedicated to the modem processing and would most often rely on a separate processor for the application tasks.
Moving a step up, the TMS320F283X Delfino MCU family includes 100 to 300 MHz devices. The Delfino MCUs could in some cases handle both application processing and the PLC modem functionality, depending on the application. However, from a software development perspective, it might be simpler to use two separate processors, especially if there are real-time elements to the application that might conflict with the real-time modem tasks.
TI's latest C2000 product is the TMS320F28M35X Concerto MCU family. Concerto is a dual-core architecture that combines a C28X core and a general-purpose RISC processor core based on the ARM Cortex-M3 architecture. In essence, Concerto combines an application processor and DSP engine that can handle the PLC modem task. Over the range of currently-available family members, the C28x core supports clock speeds from 60 to 150 MHz, and the RISC core supports clock speeds from 60 to 100 MHz.
Regardless of processor choice, TI offers a software stack that streamlines the design of a PLC system. The plcSUITE relies on a layered architecture and is supplied with an open-source license. The package includes both physical (PHY) and medium access control (MAC) layers, as well as protocol stacks such as 6LoWPAN (IPv6 over Low power Wireless Personal Area Network).
A typical power-line modem would use the architecture depicted in the block diagram in Figure 3. The MCU drives signals onto the power line using a PWM peripheral integrated on the device. The PWM signal connects directly to the input of the PA. The receive chain relies on the programmable gain amplifier in the AFE that supplies an input to an A/D converter integrated on the MCU.

Development tools
Design teams that want to experiment with power-line communications or get a jumpstart on a new project can turn to the C2000 Power Line Modem Developer's Kit. The kit is based on a Piccolo MCU, and TI includes two complete power-line modems. The kit also includes the plcSUITE software. The kit utilizes TI's controlCARD scheme that the company has relied on in many development kits to host an MCU. You can separately buy the TMS320F28X evaluation kit that is a general-purpose Piccolo evaluation tool based on a controlCARD. Additionally, you can buy just the TMS320F28X controlCARD, which can be useful for building prototypes or small-volume products.
Of course there are many other approaches to designing power-line modems and different IC manufacturers partition the problem in different ways. STMicroelectronics, for example offers the ST7538X and ST7540X power-line transceivers that can be used to support most any power-line communication scheme. The company also offers the ST757X power-line SoC that integrates both the AFE and the modem capability, but is designed specifically for S-FSK applications.
NXP Semiconductors offers the TDA5051 IC that it calls a Home Automation Modem. The NXP IC uses an amplitude shift keying (ASK) modulation scheme.
Cypress Semiconductor supports PLC with both a fixed-function IC, and with one member of its PSoC (programmable system on chip) family that includes programmable analog and digital blocks integrated on chip. The standalone CY8CPLC10 and the PSoC-based CY8CPLC20 PLC ICs both support FSK modulation.
Communications functionality is increasingly requisite, even in everyday devices such as appliances. Wireless technology is always an option, but for anything that connects to line power, you should certainly consider PLC. In general, power-line communications has been considered a difficult challenge. However, technology that supports the application, including DSP-enabled MCUs, has made the technology affordable and reliable. PLC will almost assuredly be needed in the smart home, but one should consider the power-line option in any new embedded application requiring connectivity.
Haftungsausschluss: Die Meinungen, Überzeugungen und Standpunkte der verschiedenen Autoren und/oder Forumsteilnehmer dieser Website spiegeln nicht notwendigerweise die Meinungen, Überzeugungen und Standpunkte der DigiKey oder offiziellen Politik der DigiKey wider.




