24AA16, 24LC16B, 24FC16 Datasheet by Microchip Technology
View All Related Products | Download PDF Datasheet
‘ Magma 24AA16I24LC16B
fii
aw m
2002-2012 Microchip Technology Inc. DS21703L-page 1
24AA16/24LC16B
Device Selection Table
Features:
• Single Supply with Operation down to 1.7V
for 24AA16 Devices, 2.5V for 24LC16B Devices
• Low-Power CMOS Technology:
- Active current 1 mA, typical
- Standby current, 1 A, typical
• 2-Wire Serial Interface, I2C™ Compatible
• Schmitt Trigger inputs for Noise Suppression
• Output Slope Control to eliminate Ground Bounce
• 100 kHz and 400 kHz Clock Compatibility
• Page Write Time 5 ms Max.
• Self-Timed Erase/Write Cycle
• 16-Byte Page Write Buffer
• Hardware Write-Protect
• ESD Protection > 4,000V
• More than 1 Million Erase/Write Cycles
• Data Retention > 200 Years
• Factory Programming Available
• Packages include 8-lead PDIP, SOIC, TSSOP,
MSOP, DFN, TDFN, 5-lead SOT-23 and Chip Scale
• Pb-Free and RoHS Compliant
• Temperature Ranges:
- Industrial (I): -40°C to +85°C
- Automotive (E): -40°C to +125°C
Description:
The Microchip Technology Inc. 24AA16/24LC16B
(24XX16*) is a 16 Kbit Electrically Erasable PROM.
The device is organized as eight blocks of 256 x 8-bit
memory with a 2-wire serial interface. Low-voltage
design permits operation down to 1.7V with standby
and active currents of only 1 A and 1 mA,
respectively. The 24XX16 also has a page write
capability for up to 16 bytes of data. The 24XX16 is
available in the standard 8-pin PDIP, surface mount
SOIC, TSSOP, 2x3 DFN, 2x3 TDFN and MSOP pack-
ages, and is also available in the 5-lead SOT-23, and
Chip Scale packages.
Block Diagram
Part
Number
VCC
Range
Max. Clock
Frequency
Temp.
Ranges
24AA16 1.7-5.5 400 kHz(1) I, E
24LC16B 2.5-5.5 400 kHz I, E
Note 1: 100 kHz for VCC <2.5V.
HV
EEPROM
Array
Page
YDEC
XDEC
Sense Amp.
Memory
Control
Logic
I/O
Control
Logic
I/O
WP
SDA
SCL
VCC
VSS
R/W Control
Latches
Generator
A0
A1
A2
VSS
VCC
WP
SCL
SDA
1
2
3
4
8
7
6
5
PDIP/MSOP/SOIC/TSSOP DFN/TDFN
A0
A1
A2
VSS
WP
SCL
SDA
VCC
8
7
6
5
1
2
3
4
SOT-23
1
2
34
5WP
VCC
SCL
VSS
SDA
Note 1: Pins A0, A1 and A2 are not used by the 24XX16 (no internal connections).
2: Available in I-temp, “AA” only.
CS (Chip Scale)(1)
12
3
45
VCC
WP
SDA
SCL
VSS
(Top Down View,
Balls Not Visible)
16K I2C™ Serial EEPROM
*24XX16 is used in this document as a generic part number for the 24AA16/24LC16B devices.

24AA16/24LC16B
DS21703L-page 2 2002-2012 Microchip Technology Inc.
1.0 ELECTRICAL CHARACTERISTICS
Absolute Maximum Ratings (†)
VCC.............................................................................................................................................................................6.5V
All inputs and outputs w.r.t. VSS ......................................................................................................... -0.3V to VCC +1.0V
Storage temperature ...............................................................................................................................-65°C to +150°C
Ambient temperature with power applied................................................................................................-40°C to +125°C
ESD protection on all pins 4kV
TABLE 1-1: DC CHARACTERISTICS
† NOTICE: Stresses above those listed under “Absolute Maximum Ratings” may cause permanent damage to the
device. This is a stress rating only and functional operation of the device at those or any other conditions above those
indicated in the operational listings of this specification is not implied. Exposure to maximum rating conditions for
extended periods may affect device reliability.
DC CHARACTERISTICS Industrial (I): TA = -40°C to +85°C, VCC = +1.7V to +5.5V
Automotive (E): T
A = -40°C to +125°C, VCC = +1.7V to +5.5V
Param.
No. Symbol Characteristic Min. Typ. Max. Units Conditions
WP, SCL and SDA pins —————
D1 VIH High-level input voltage 0.7 VCC ——V—
D2 VIL Low-level input voltage — — 0.3 VCC V—
D3 VHYS Hysteresis of Schmitt
Trigger inputs
0.05 VCC ——V(Note 1)
D4 VOL Low-level output voltage — — 0.40 V IOL = 3.0 mA, VCC = 2.5V
D5 ILI Input leakage current ——±1AVIN = VSS or VCC
D6 ILO Output leakage current ——±1AVOUT = VSS or VCC
D7 CIN,
COUT
Pin capacitance
(all inputs/outputs)
——10pFVCC = 5.0V (Note 1)
T
A = 25°C, FCLK = 1 MHz
D8 ICC write Operating current —— 3mAVCC = 5.5V, SCL = 400 kHz
D9 ICC read — 0.01 1 mA —
D10 ICCS Standby current —
—
0.3
0.01
1
5
A
A
Industrial
Automotive
SDA = SCL = VCC
WP = VSS
Note 1: This parameter is periodically sampled and not 100% tested.
2: Typical measurements taken at room temperature.
5V:
V
2002-2012 Microchip Technology Inc. DS21703L-page 3
24AA16/24LC16B
TABLE 1-2: AC CHARACTERISTICS
AC CHARACTERISTICS Industrial (I): TA = -40°C to +85°C, VCC = +1.7V to +5.5V
Automotive (E): TA = -40°C to +125°C, VCC = +1.7V to +5.5V
Param.
No. Symbol Characteristic Min. Max. Units Conditions
1F
CLK Clock frequency —
—
400
100
kHz 2.5V VCC 5.5V
1.7V VCC 2.5V (24AA16)
2THIGH Clock high time 600
4000
—
—
ns 2.5V VCC 5.5V
1.7V VCC 2.5V (24AA16)
3T
LOW Clock low time 1300
4700
—
—
ns 2.5V VCC 5.5V
1.7V VCC 2.5V (24AA16)
4TRSDA and SCL rise time
(Note 1)
—
—
300
1000
ns 2.5V VCC 5.5V (Note 1)
1.7V VCC 2.5V (24AA16)
(Note 1)
5T
FSDA and SCL fall time — 300 ns (Note 1)
6T
HD:STA Start condition hold time 600
4000
—
—
ns 2.5V VCC 5.5V
1.7V VCC 2.5V (24AA16)
7TSU:STA Start condition setup time 600
4700
—
—
ns 2.5V VCC 5.5V
1.7V VCC 2.5V (24AA16)
8THD:DAT Data input hold time 0 — ns (Note 2)
9TSU:DAT Data input setup time 100
250
—
—
ns 2.5V VCC 5.5V
1.7V VCC 2.5V (24AA16)
10 TSU:STO Stop condition setup time 600
4000
—
—
ns 2.5V VCC 5.5V
1.7V VCC 2.5V (24AA16)
11 TAA Output valid from clock
(Note 2)
—
—
900
3500
ns 2.5V VCC 5.5V
1.7V VCC 2.5V (24AA16)
12 TBUF Bus free time: Time the bus
must be free before a new
transmission can start
1300
4700
—
—
ns 2.5V VCC 5.5V
1.7V VCC 2.5V (24AA16)
13 TOF Output fall time from VIH
minimum to VIL maximum
20+0.1CB
—
250
250
ns 2.5V VCC 5.5V
1.7V VCC 2.5V (24AA16)
14 TSP Input filter spike suppression
(SDA and SCL pins)
—50ns(Notes 1 and 3)
15 TWC Write cycle time
(byte or page)
—5ms—
16 — Endurance 1M — cycles 25°C, (Note 4)
Note 1: Not 100% tested. CB = total capacitance of one bus line in pF.
2: As a transmitter, the device must provide an internal minimum delay time to bridge the undefined region
(minimum 300 ns) of the falling edge of SCL to avoid unintended generation of Start or Stop conditions.
3: The combined TSP and VHYS specifications are due to new Schmitt Trigger inputs which provide improved
noise spike suppression. This eliminates the need for a TI specification for standard operation.
4: This parameter is not tested but ensured by characterization. For endurance estimates in a specific
application, please consult the Total Endurance™ Model which can be obtained from Microchip’s web site
at www.microchip.com.
24AA16/24LC16B
DS21703L-page 4 2002-2012 Microchip Technology Inc.
FIGURE 1-1: BUS TIMING DATA
FIGURE 1-2: BUS TIMING START/STOP
7
524
8910
12
11
14
6
SCL
SDA
IN
SDA
OUT
3
76
D3
10
Start Stop
SCL
SDA

2002-2012 Microchip Technology Inc. DS21703L-page 5
24AA16/24LC16B
2.0 PIN DESCRIPTIONS
The descriptions of the pins are listed in Tab le 2 -1.
TABLE 2-1: PIN FUNCTION TABLE
2.1 Serial Address/Data Input/Output
(SDA)
SDA is a bidirectional pin used to transfer addresses
and data into and out of the device. Since it is an open-
drain terminal, the SDA bus requires a pull-up resistor
to VCC (typical 10 k for 100 kHz, 2 k for 400 kHz).
For normal data transfer, SDA is allowed to change
only during SCL low. Changes during SCL high are
reserved for indicating Start and Stop conditions.
2.2 Serial Clock (SCL)
The SCL input is used to synchronize the data transfer
to and from the device.
2.3 Write-Protect (WP)
The WP pin must be connected to either VSS or VCC.
If tied to VSS, normal memory operation is enabled
(read/write the entire memory 000-7FF).
If tied to VCC, write operations are inhibited. The entire
memory will be write-protected. Read operations are
not affected.
2.4 A0, A1, A2
The A0, A1 and A2 pins are not used by the 24XX16.
They may be left floating or tied to either VSS or VCC.
Name PDIP SOIC TSSOP DFN TDFN MSOP SOT-23 CS Description
A0 1 1 1 1 1 1 — — Not Connected
A1 2 2 2 2 2 2 — — Not Connected
A2 3 3 3 3 3 3 — — Not Connected
VSS 4 4 4 4 4 4 2 2 Ground
SDA 5 5 5 5 5 5 3 5 Serial Address/Data I/O
SCL 6 6 6 6 6 6 1 4 Serial Clock
WP 7 7 7 7 7 7 5 3 Write-Protect Input
VCC 8 8 8 8 8 8 4 1 +1.7V to 5.5V Power Supply

24AA16/24LC16B
DS21703L-page 6 2002-2012 Microchip Technology Inc.
3.0 FUNCTIONAL DESCRIPTION
The 24XX16 supports a bidirectional, 2-wire bus and
data transmission protocol. A device that sends data
onto the bus is defined as a transmitter, while a device
receiving data is defined as a receiver. The bus has to
be controlled by a master device which generates the
Serial Clock (SCL), controls the bus access and
generates the Start and Stop conditions, while the
24XX16 works as slave. Both master and slave can
operate as transmitter or receiver, but the master
device determines which mode is activated.
4.0 BUS CHARACTERISTICS
The following bus protocol has been defined:
• Data transfer may be initiated only when the bus
is not busy.
• During data transfer, the data line must remain
stable whenever the clock line is high. Changes in
the data line while the clock line is high will be
interpreted as a Start or Stop condition.
Accordingly, the following bus conditions have been
defined (Figure 4-1).
4.1 Bus Not Busy (A)
Both data and clock lines remain high.
4.2 Start Data Transfer (B)
A high-to-low transition of the SDA line while the clock
(SCL) is high determines a Start condition. All
commands must be preceded by a Start condition.
4.3 Stop Data Transfer (C)
A low-to-high transition of the SDA line while the clock
(SCL) is high determines a Stop condition. All
operations must be ended with a Stop condition.
4.4 Data Valid (D)
The state of the data line represents valid data when,
after a Start condition, the data line is stable for the
duration of the high period of the clock signal.
The data on the line must be changed during the low
period of the clock signal. There is one clock pulse per
bit of data.
Each data transfer is initiated with a Start condition and
terminated with a Stop condition. The number of data
bytes transferred between Start and Stop conditions is
determined by the master device and is, theoretically,
unlimited (although only the last sixteen will be stored
when doing a write operation). When an overwrite does
occur it will replace data in a first-in first-out (FIFO)
fashion.
4.5 Acknowledge
Each receiving device, when addressed, is obliged to
generate an Acknowledge after the reception of each
byte. The master device must generate an extra clock
pulse which is associated with this Acknowledge bit.
The device that acknowledges, has to pull down the
SDA line during the acknowledge clock pulse in such a
way that the SDA line is stable-low during the high
period of the acknowledge related clock pulse. Of
course, setup and hold times must be taken into
account. During reads, a master must signal an end of
data to the slave by not generating an Acknowledge bit
on the last byte that has been clocked out of the slave.
In this case, the slave (24XX16) will leave the data line
high to enable the master to generate the Stop
condition.
FIGURE 4-1: DATA TRANSFER SEQUENCE ON THE SERIAL BUS
Note: The 24XX16 does not generate any
Acknowledge bits if an internal
programming cycle is in progress.
SCL
SDA
(A) (B) (D) (D) (A)(C)
Start
Condition
Address or
Acknowledge
Valid
Data
Allowed
to Change
Stop
Condition
2‘
Wri‘e
2002-2012 Microchip Technology Inc. DS21703L-page 7
24AA16/24LC16B
5.0 DEVICE ADDRESSING
A control byte is the first byte received following the
Start condition from the master device (Figure 5-1).
The control byte consists of a four-bit control code.
For the 24XX16, this is set as ‘1010’ binary for read
and write operations. The next three bits of the control
byte are the block-select bits (B2, B1, B0). They are
used by the master device to select which of the eight
256 word-blocks of memory are to be accessed.
These bits are in effect the three Most Significant bits
(MSb) of the word address. It should be noted that the
protocol limits the size of the memory to eight blocks
of 256 words, therefore, the protocol can support only
one 24XX16 per system.
The last bit of the control byte defines the operation to
be performed. When set to ‘1’, a read operation is
selected. When set to ‘0’, a write operation is selected.
Following the Start condition, the 24XX16 monitors the
SDA bus, checking the device type identifier being
transmitted and, upon receiving a ‘1010’ code, the
slave device outputs an Acknowledge signal on the
SDA line. Depending on the state of the R/W bit, the
24XX16 will select a read or write operation.
FIGURE 5-1: CONTROL BYTE
ALLOCATION
FIGURE 5-2: ADDRESS SEQUENCE BIT ASSIGNMENTS
Operation Control
Code Block Select R/W
Read 1010 Block Address 1
Write 1010 Block Address 0
10 10B2 B1 B0 R/W ACK
Start Bit
Read/Write Bit
S
Slave Address
Acknowledge Bit
Control Code
Block
Select
Bits
1 010B
2
B
1B
0R/W A
7
A
0
••••••
Control Byte Address Low Byte
Control
Code
Block
Select
bits
w
24AA16/24LC16B
DS21703L-page 8 2002-2012 Microchip Technology Inc.
6.0 WRITE OPERATION
6.1 Byte Write
Following the Start condition from the master, the
device code (4 bits), the block address (3 bits) and the
R/W bit, which is a logic-low, is placed onto the bus by
the master transmitter. This indicates to the addressed
slave receiver that a byte with a word address will
follow once it has generated an Acknowledge bit during
the ninth clock cycle. Therefore, the next byte transmit-
ted by the master is the word address and will be
written into the Address Pointer of the 24XX16. After
receiving another Acknowledge signal from the
24XX16, the master device will transmit the data word
to be written into the addressed memory location. The
24XX16 acknowledges again and the master
generates a Stop condition. This initiates the internal
write cycle and, during this time, the 24XX16 will not
generate Acknowledge signals (Figure 6-1).
6.2 Page Write
The write control byte, word address and the first data
byte are transmitted to the 24XX16 in the same way as
in a byte write. However, instead of generating a Stop
condition, the master transmits up to 16 data bytes to
the 24XX16, which are temporarily stored in the on-
chip page buffer and will be written into memory once
the master has transmitted a Stop condition. Upon
receipt of each word, the four lower-order Address
Pointer bits are internally incremented by ‘1’. The
higher-order 7 bits of the word address remain
constant. If the master should transmit more than 16
bytes prior to generating the Stop condition, the
address counter will roll over and the previously
received data will be overwritten. As with the byte write
operation, once the Stop condition is received an
internal write cycle will begin (Figure 6-2).
6.3 Write Protection
The WP pin allows the user to write-protect the entire
array (000-7FF) when the pin is tied to VCC. If tied to
VSS the write protection is disabled.
FIGURE 6-1: BYTE WRITE
Note: Page write operations are limited to writ-
ing bytes within a single physical page,
regardless of the number of bytes
actually being written. Physical page
boundaries start at addresses that are
integer multiples of the page buffer size
(or ‘page-size’) and end at addresses that
are integer multiples of [page size – 1]. If
a page write command attempts to write
across a physical page boundary, the
result is that the data wraps around to the
beginning of the current page (overwriting
data previously stored there), instead of
being written to the next page, as might be
expected. It is therefore necessary for the
application software to prevent page write
operations that would attempt to cross a
page boundary.
S P
Bus Activity
Master
SDA Line
Bus Activity
S
T
A
R
T
S
T
O
P
Control
Byte
Word
Address Data
A
C
K
A
C
K
A
C
K
1010B2 B1 B0 0
Block
Select
Bits
W \
2002-2012 Microchip Technology Inc. DS21703L-page 9
24AA16/24LC16B
FIGURE 6-2: PAGE WRITE
S P
Bus Activity
Master
SDA Line
Bus Activity
S
T
A
R
T
Control
Byte
Word
Address (n) Data (n) Data (n + 15)
S
T
O
P
A
C
K
A
C
K
A
C
K
A
C
K
A
C
K
Data (n + 1)
B1
B2 B0
10100
Block
Select
Bits
Congo
R/W
E‘
24AA16/24LC16B
DS21703L-page 10 2002-2012 Microchip Technology Inc.
7.0 ACKNOWLEDGE POLLING
Since the device will not acknowledge during a write
cycle, this can be used to determine when the cycle is
complete (this feature can be used to maximize bus
throughput). Once the Stop condition for a write
command has been issued from the master, the device
initiates the internally-timed write cycle and ACK polling
can then be initiated immediately. This involves the
master sending a Start condition followed by the control
byte for a write command (R/W = 0). If the device is still
busy with the write cycle, no ACK will be returned. If the
cycle is complete, the device will return the ACK and
the master can then proceed with the next read or write
command. See Figure 7-1 for a flow diagram of this
operation.
FIGURE 7-1: ACKNOWLEDGE POLLING
FLOW
Send
Write Command
Send Stop
Condition to
Initiate Write Cycle
Send Start
Send Control Byte
with R/W = 0
Did Device
Acknowledge
(ACK = 0)?
Next
Operation
No
Yes

2002-2012 Microchip Technology Inc. DS21703L-page 11
24AA16/24LC16B
8.0 READ OPERATION
Read operations are initiated in the same way as write
operations, with the exception that the R/W bit of the
slave address is set to ‘1’. There are three basic types
of read operations: current address read, random read
and sequential read.
8.1 Current Address Read
The 24XX16 contains an address counter that main-
tains the address of the last word accessed, internally
incremented by ‘1’. Therefore, if the previous access
(either a read or write operation) was to address n, the
next current address read operation would access data
from address n + 1. Upon receipt of the slave address
with R/W bit set to ‘1’, the 24XX16 issues an acknowl-
edge and transmits the 8-bit data word. The master will
not acknowledge the transfer, but does generate a Stop
condition and the 24XX16 discontinues transmission
(Figure 8-1).
8.2 Random Read
Random read operations allow the master to access
any memory location in a random manner. To perform
this type of read operation, the word address must first
be set. This is accomplished by sending the word
address to the 24XX16 as part of a write operation.
Once the word address is sent, the master generates a
Start condition following the acknowledge. This
terminates the write operation, but not before the inter-
nal Address Pointer is set. The master then issues the
control byte again, but with the R/W bit set to a ‘1’. The
24XX16 will then issue an acknowledge and transmit
the 8-bit data word. The master will not acknowledge
the transfer, but does generate a Stop condition and the
24XX16 will discontinue transmission (Figure 8-2).
8.3 Sequential Read
Sequential reads are initiated in the same way as a
random read, except that once the 24XX16 transmits
the first data byte, the master issues an acknowledge
as opposed to a Stop condition in a random read. This
directs the 24XX16 to transmit the next sequentially-
addressed 8-bit word (Figure 8-3).
To provide sequential reads, the 24XX16 contains an
internal Address Pointer that is incremented by one
upon completion of each operation. This Address
Pointer allows the entire memory contents to be serially
read during one operation.
8.4 Noise Protection
The 24XX16 employs a VCC threshold detector circuit
which disables the internal erase/write logic if the VCC
is below 1.5V at nominal conditions.
The SCL and SDA inputs have Schmitt Trigger and
filter circuits which suppress noise spikes to assure
proper device operation, even on a noisy bus.
FIGURE 8-1: CURRENT ADDRESS READ
SP
Bus Activity
Master
SDA Line
Bus Activity
S
T
O
P
Control
Byte Data (n)
A
C
K
N
o
A
C
K
S
T
A
R
T
1010 1
B2 B1 B0
Block
Select
Bits
‘Wk’lllllll
24AA16/24LC16B
DS21703L-page 12 2002-2012 Microchip Technology Inc.
FIGURE 8-2: RANDOM READ
FIGURE 8-3: SEQUENTIAL READ
S P
S
Bus Activity
Master
SDA Line
Bus Activity
S
T
A
R
T
S
T
O
P
Control
Byte
A
C
K
Word
Address (n)
Control
Byte
S
T
A
R
T
Data (n)
A
C
K
A
C
K
N
o
A
C
K
10 10 0
B2B1B0 11
001
B2 B1B0
Block
Select
Bits
Block
Select
Bits
P
Bus Activity
Master
SDA Line
Bus Activity
S
T
O
P
Control
Byte
A
C
K
N
o
A
C
K
Data (n) Data (n + 1) Data (n + 2) Data (n + x)
A
C
K
A
C
K
A
C
K
1
WFnWFn‘Vfl fiffiffifl
LC1
oQ 09°
ULUJLUJLJ LJLLJLLJLJ
flflflfl flflflfl
0‘3 0‘5
UUUU UUUU
E0 E E9 E
WW
2002-2012 Microchip Technology Inc. DS21703L-page 13
24AA16/24LC16B
9.0 PACKAGING INFORMATION
9.1 Package Marking Information
XXXXXXXX
T/XXXNNN
YYWW
8-Lead PDIP (300 mil) Example:
8-Lead SOIC (3.90 mm) Example:
XXXXXXXT
XXXXYYWW
NNN
8-Lead TSSOP Example:
24LC16B
I/P 13F
0527
24LC16BI
SN 0527
13F
8-Lead MSOP Example:
XXXX
TYWW
NNN
XXXXXT
YWWNNN
4L16
I527
13F
4L16I
52713F
5-Lead SOT-23 Example:
XXNN B53F
8-Lead 2x3 DFN Example:
254
527
13
XXX
YWW
NN
3
e
3
e
8-Lead 2x3 TDFN Example:
A54
527
13
XXX
YWW
NN
NNN
For
24AA16/24LC16B
DS21703L-page 14 2002-2012 Microchip Technology Inc.
Part Number
1st Line Marking Codes
TSSOP MSOP
SOT-23 DFN TDFN
I Temp. E Temp. I Temp. E Temp. I Temp. E Temp.
24AA16 4A16 4A16T B5NN 7VNN 251 — A51 EE9
24LC16B 4L16 4L16T M5NN N5NN 254 255 A54 A55
Note: T = Temperature grade (I, E)
NN = Alphanumeric traceability code
5-Lead Chip Scale
XW
Example:
57
Legend: XX...X Part number or part number code
T Temperature (I, E)
Y Year code (last digit of calendar year)
YY Year code (last 2 digits of calendar year)
WW Week code (week of January 1 is week ‘01’)
NNN Alphanumeric traceability code (2 characters for small packages)
Pb-free JEDEC designator for Matte Tin (Sn)
Note: For very small packages with no room for the Pb-free JEDEC designator
, the marking will only appear on the outer carton or reel label.
Note: In the event the full Microchip part number cannot be marked on one line, it will
be carried over to the next line, thus limiting the number of available
characters for customer-specific information.
3
e
3
e
Note: Please visit www.microchip.com/Pbfree for the latest information on Pb-free conversion.
*Standard OTP marking consists of Microchip part number, year code, week code, and traceability code.
2002-2012 Microchip Technology Inc. DS21703L-page 15
24AA16/24LC16B
N
E1
NOTE 1
D
123
A
A1
A2
L
b1
b
e
E
eB
c
s-Lead Plastic Small Outline (SN) - Narrow, 3.90 mm Body [SOIC]
NOTEl E . ‘ ‘+ 2x N/2 TlPS
NX b
* BE!
TOP VIEW
A‘—
an
—-- l SEATING PLANE
M 7 SIDE VIEW
A‘—
+ n
VIEW A-A
Mlcmchlp Technology Drawmg Na 004—0570 Sheel 1 of 2
24AA16/24LC16B
DS21703L-page 16 2002-2012 Microchip Technology Inc.
Note: For the most current package drawings, please see the Microchip Packaging Specification located at
http://www.microchip.com/packaging
8-Lead Plastic Small Outline (SN) - Narrow, 3.90 mm Body [SOIC]
UHlls MILLllVlETERS
Dimenslon Limits MIN l NOM l MAX
Number 01 Plrls N 5
Pitcn e 1.27 BSC
Overall Heigm A . . 1.75
Molded Package Thickness A2 1.25 . .
Stands" § Al 0.10 . 0.25
Overall Wldth E 5.00 BSC
Molded Package Wrdth E1 3.90 850
Overall Length D 4.90 BSC
Chamier (Optional) n 0.25 . 0.50
Fool Length L 0.40 . 1.27
Feetpnnt Ll 1.04 REF
Fool Angle w 0° . 5°
Lead Thickness c 0.17 — 0.25
Lead Wrdtn 5 0.31 — 0.51
Mold malt Angle Top at 5° — 15°
Mold Bran Angle Bollom 73 5° — 15°
Notes:
1. Plrl 1 vlsual lridex fealure may vary, bul musl be located wiinrn lhe hatched area
2. § 5rgnineant Characterlstic
3 Dlmenslans D and E1 do not lnclude mold flash or prulmsluns Mold flash or
protrusions shall not exceed 0.15mm per side
4. Dlmensionlng and toleraneing per ASME v14 5M
asc: Basro Drmensron Theorellcally exact value shown wrlnout tolerances
REF: Relerence Drmensron, usually wllhoul tolerance. for lnlormallon purposes only
Mlcrachip Technology Drawing No c047057c street 2 012
2002-2012 Microchip Technology Inc. DS21703L-page 17
24AA16/24LC16B
Note: For the most current package drawings, please see the Microchip Packaging Specification located at
http://www.microchip.com/packaging
/ SILKSCREEN
3D D [:3
,1
RECOMMENDED LAND PATTERN
T
\
Units MILLIMETERS
Dimension Limiis MiN \ NOM \ MAX
Cuniaci Pilch E i 27 ass
Comact Pad Spacing c 5 40
Comes! Pad Width (X8) xi 0 60
Contact Pad Length (xa) v1 1 55
Notes:
1 Dimensioning and ioierancmg per ASME v14 5M
ass. Basic Dimension. TheoreliCaHy exaci vaiue shown wi|hout ioierances.
Microchip Technology Drawing No C0472057A
24AA16/24LC16B
DS21703L-page 18 2002-2012 Microchip Technology Inc.
! ""#$%& !'
2002-2012 Microchip Technology Inc. DS21703L-page 19
24AA16/24LC16B
() )"* ! (+%+( !
D
N
E
E1
NOTE 1
12
b
e
c
A
A1
A2
L1 L
φ
87Lead Plastic Thin Shrink Small Outline (ST) 7 4.4 mm Body [TSSOP]
Noles'
X17
UDDU’
C1
‘ E
E: i
|:| 7
l:| _if G
l:| —l
El 5 E
SlLK SCREEN
RECOMMENDED LAND PATTERN
Units MILLlMETERS
Dimension Limits MIN | NOM | MAX
Contact Pitch E 0.65 850
Conlacl Pad Spacing c1 5 so
Conlacl Pad Width (xe) Xi 0.45
Contact Pad Length (xe) w 1.45
Distance Between Pads <3 0="" 20="" l="" dimensioning="" and="" loletancing="" pet="" asme="" w4="" sm="" 850="" basic="" dimension="" theoretically="" exacl="" value="" snuwn="" without="" lalerances="" microchip="" technalcgy="" drawing="" no.="" cda-zdbea="">3>24AA16/24LC16B
DS21703L-page 20 2002-2012 Microchip Technology Inc.
Note: For the most current package drawings, please see the Microchip Packaging Specification located at
http://www.microchip.com/packaging
8-Lead Plastic Dual Flat, Na Lead Package (MC) — 2x3x0.9 mm Body [DFN]
2002-2012 Microchip Technology Inc. DS21703L-page 21
24AA16/24LC16B
,$*-.'/00%&,
D
N
E
NOTE 1
12
EXPOSED PAD
NOTE 1
21
D2
K
L
E2
N
e
b
A3 A1
A
NOTE 2
BOTTOM VIEW
TOP VIEW
8-Lead Plastic Dual Flat, No Lead Package (MC) - 2x3x0.9mm Body [DFN]
C1 T2
l
-i
i
S
S
S
1
S‘LK SCREEN
RECOMMENDED LAND PATTERN
Umts MILLtMETERS
Dtmenslan Ltmtts MIN NOM MAX
Contacl leh E U 50 BSC
Opttona‘ Cemer Pad Wldlh W2 1 45
Opltonat Center Pad Length T2 1 75
Contact Pad Spacmg C1 2 so
COMBCI Pad Wldlh (XE) X1 0 30
Contact Pad Lengtn (x5) Y1 o 75
Dustance Between Pads (3 0.20
Notes:
1.Dimenstomng and tolerancing per ASME YMEM
asc Basic Dtmenston. Theorettcatty exact value shown wtthout toterances.
Microchtp Tecnnotogy Drawtng No. 004721235
24AA16/24LC16B
DS21703L-page 22 2002-2012 Microchip Technology Inc.
Note: For the most current package drawings, please see the Microchip Packaging Specification located at
http://www.microchip.com/packaging
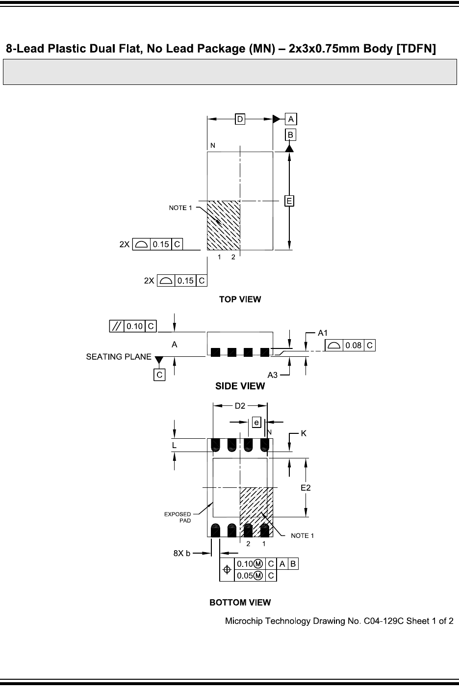
8-Lead Plastic Dual Flat, No Lead Package (MN) — 2x3x0.75mm Body [TDFN]
NOTE 1 —\
2X Q 015 C
2X 5- C
TOP VIEW
// 010 c
A
SEATING PLANE ll”
I As—
SIDE VIEW
D2
_» El .—
—K
, \ |
L W
‘ t
mm/ V”
m g /
\ NOTE1
z 1
8Xb <— u.1o®="" c="" a‘b‘="" $="" n.ns®="" c="" borrom="" view="" microchip="" techno‘ogy="" drawing="" no="" comm:="" sheet1="" m="" 2="">—> 2002-2012 Microchip Technology Inc. DS21703L-page 23
24AA16/24LC16B
Note: For the most current package drawings, please see the Microchip Packaging Specification located at
http://www.microchip.com/packaging
8-Lead Plastic Dual Flat, No Lead Package (MN) — 2x3x0.75mm Body [TDFN]
NOTEZ
Units MILLIMETERS
Dwmensmn Limits MIN 1 NOM | MAX
Number of Plns N 8
Pitch e 0.50 BSC
Overaii Hewght A 0 70 0 75 0 80
Standofi A1 0.00 0.02 0.05
Contact Thickness A3 0.20 REF
OveraH Length D 2.00 580
Overaii Wwdth E 3.00 BSC
Exposed Pad Length D2 1 20 - 1 60
Exposed Pad Width E2 1.20 - 1.50
Contact Wwdth b 0.20 0.25 0.30
Contact Length L 0.25 0.30 0.45
ContacHorExposed Pad K 0.20 . .
Notes:
1. Pm 1 Visual index ieaiure may vary, but must be located wwthwn the hatched area.
2. Package may have one or more exposed tie bars at ends
3 Package is saw swngu‘aied
4 Dwmensiening and toteraneing per ASME v14 5M
BSC: Baswc Dwmension TheoretwcaHy exact value shown wwthout tolerances.
REF. Reference Dimension. usuaHy wxihout tolerance, for \nformation purposes onty.
Mlcrochwp Technology Drawmg No. 004-1290 Sheet 2 012
24AA16/24LC16B
DS21703L-page 24 2002-2012 Microchip Technology Inc.
Note: For the most current package drawings, please see the Microchip Packaging Specification located at
http://www.microchip.com/packaging
‘— W2 —’ S‘LK SCREEN
‘fl‘
~+~m
WT’EU E Di:
X1 4 L
+5.—
RECOMMENDED LAND PATTERN
Unus M‘LLIMETERS
Dimensmn Lxmxls MIN | NOM | MAX
Contad PM E o 50 BSC
Opuanax Center Pad w‘um W2 1.46
Optiona‘ Center Pad Length TZ 1.35
Contact Pad Spacing (:1 3.00
Contac‘ Pad Wwdlh (X8) X1 0 30
Contact Pad Lengm (x5) v1 0 75
Dwstance Between Pads G 0 20
Notes
1 Dwmenswonlng and mlerancmg per ASME v14 SM
580 Basm Dmensmn Theareueauy exact value shown wimom lo‘erances.
Mmmcmp Tecnnamgy Drawmg No 004-21ng
2002-2012 Microchip Technology Inc. DS21703L-page 25
24AA16/24LC16B
,$*-./00%12(,
8-Lead Plastic Micro Small Outline Package (MS) [MSOP]
NX b
I-I-EI
TOP VIEW
Q 010 C
_ SEATING PLANE
_T—l J
SIDE VIEW
A1
* fl/ SEE DETAlLC
_
“—E _ J
END VIEW
Microchlp Technology Drawmg CU47111C Sheet 1 cl 2
24AA16/24LC16B
DS21703L-page 26 2002-2012 Microchip Technology Inc.
Note: For the most current package drawings, please see the Microchip Packaging Specification located at
http://www.microchip.com/packaging
S-Lead Plastic Micro Small Outline Package (MS) [MSOP]
_ _GAUGE PLANE
0L
SEATING
PLANE _fi_—7
L
(P
(U)
DETAIL c
Unils MILLlMETERS
Dimension Limils MIN NOM MAX
Number oi Pins N | a \
Pilen e 0.65 380
Overall Heighl A . . 1 m
Molded Package Thickness A2 0 75 D 85 D 95
Slandoii Al 0 no . o 15
Overall Width E 4 80 BSC
Molded Package Width E1 3 DU 580
Overall Lengln D a 00 880
Pool Length L 0 Au | 0 so i o as
Footprint L1 0 95 REF
Foot Angle «2 0" - a“
Lead Thickness c 0 ca , o 23
Lead widlri o o 22 , 0 4o
Notes:
1 Pin 1 visual index lealure may vary‘ mil mus| be looaled Wilnin lne nalened area
2 Dimensions D and El do nol include rnold llasri or prolrusions. Mold flash or
prolmsions shall not exceed 0.15mi per side
3 Dimensidning and loleranoing per ASME v14 5M
ass. Basie Dimension. Theorelically exael value shown wilnoiil loleranees.
REF: Relerence Dimension usually willioui tolerance, lor inlorrnaiion purposes only.
Microchip Technology Drawing 00471110 sneel 2 M2
2002-2012 Microchip Technology Inc. DS21703L-page 27
24AA16/24LC16B
Note: For the most current package drawings, please see the Microchip Packaging Specification located at
http://www.microchip.com/packaging
S-Lead Plastic Micro SmaH Outline Package (MS) [MSOP]
’* ” ' \
SILK
SCREEN
I t
—><—gx recommended="" land="" pattern="" umts="" millimeters="" dimenston="" ltmits="" mw="" \="" nom="" \="" max="" contact="" pllch="" e="" 0.65="" bsc="" contact="" pad="" spacing="" c="" 4.40="" mean="" width="" 2="" 5.35="" contact="" pad="" width="" (x8)="" x1="" 0.45="" contact="" pad="" length="" (xs)="" y1="" 1.45="" dtstance="" between="" pads="" (31="" 2.95="" dtstance="" between="" pads="" gx="" 0.20="" notes="" 1="" dimenstomng="" and="" tolerancmg="" perasme="" y1a="" 5m="" bsc="" baste="" dtmensiun="" theuraticahy="" exact="" vatue="" shown="" wilhuut="" tolerances="" mtcrochtp="" technotogy="" drawmg="" no="" 00472111a="">—gx>24AA16/24LC16B
DS21703L-page 28 2002-2012 Microchip Technology Inc.
Note: For the most current package drawings, please see the Microchip Packaging Specification located at
http://www.microchip.com/packaging
2002-2012 Microchip Technology Inc. DS21703L-page 29
24AA16/24LC16B
2 !(""!( !(/
φ
N
b
E
E1
D
123
e
e1
A
A1
A2 c
L
L1
5-Lead Plastic Small Outline Transistor (OT) [SOT-23]
X
7 v
Z C G
/
SiLK‘
SCREEN
7 I I
I I
GX
_. E .—
RECOMMENDED LAND PATTERN
Units MiLLiMETERS
Dimension Limits MIN i NOM | MAX
Contact Pitch E o 95 BSC
Contact Pad Spacing C 2 EU
Cunlact Pad Width (X5) X 6.60
Contact Pad Length (x5) Y mo
Distance Between Pads :3 1 7o
Dislance Between Pads GX o 35
Overall Width Z 3 90
Notes
i Dimensionlng and mlerancing pei ASME v14 5M
BSC: Basic Dimension Theoreticaiiy exact value shown Without tolerances
Microchip Technology Drawing Ne CO4-2091A
24AA16/24LC16B
DS21703L-page 30 2002-2012 Microchip Technology Inc.
Note: For the most current package drawings, please see the Microchip Packaging Specification located at
http://www.microchip.com/packaging
5-Lead Chip Scale Package (CS) - [CSP]
am C
2x <—i—+l 4»="" d/2="">—i—+l><7 1="" \="" a="" \="" i="" note1="" ‘="" i="" e/z="" f="" q="" 0.10="" (2="" 2x="" topview="" 7="" a2="" 0.20="" c="" ‘="" a="" sea‘hng="" plane="" ‘="" f="" u="" u="" u="" a17="" (datum="" a)="" \="" (datum="" a)="" orientat‘on="" reference="" ja="" 1="" bottom="" v‘ew="" microcmp="" technolugy="" drawmg="" 004-6004d="" sheet="" 1="" of="" 2="">7> 2002-2012 Microchip Technology Inc. DS21703L-page 31
24AA16/24LC16B
Note: For the most current package drawings, please see the Microchip Packaging Specification located at
http://www.microchip.com/packaging
5-Lead Chip Scale Package (CS) - [CSP]
Untts MlLLlMETERs
Dlmension Ltmtts MIN NOM MAX
Number ol Contacts N 5
Adjacent Column x-Pitcn E1 0.570 330
Adjacent Row Y-Pttcn D1 0.520 ESC
Adjacent Column x-Pitcn eE 0.235 ass
Adjacent Row Y-Pttcn eD o 260 ESC
Overall t—tetgnt A o 47 o 51 0 55
Due t—tetgnt A2 0 33 o 35 0 37
Bump t—tetgnt At 014 015 o la
Overall Lengtn E NOTE 4
Overall Wtutn D NOTE A
Ball Dtarneter o 018 l 020 l 022
Notes:
1 Onentatron reterenoe teature may vary, bu| must be located wl|hln Ihe hatched area
2 Package l5 saw stngulated.
3 Dlmenslonlng and loleranclng per ASME Y14 5M
ass Baslc Dlmenslun Thearetically exact value Shawn witnout tolerances
REF: Reterence Dlmension‘ usually without tolerance, tor tnlormatton purposes only.
4 Package size varies wttn spectttc deytees
Mlcrochip Technology Drawlng 00476004D Sheet 2 cl 2
24AA16/24LC16B
DS21703L-page 32 2002-2012 Microchip Technology Inc.
Note: For the most current package drawings, please see the Microchip Packaging Specification located at
http://www.microchip.com/packaging
Please contact your local Microchip representative for specific details.
5-Lead Chip Scale Package (CS) - [CSP]
x1 62
RECOMMENDED LAND PATTERN
Umts MILUMETERS
Dwmension Lxmms MIN | NOM \ MAX
Number 0! Conlacts N 5
Con'ad F‘Kch Y 9E 0.285
Comad Pm x eD o 260
Con'ad Fad Spacmg E1 0 570
Contacl Fad Spacmg D1 11 520
Contacl Pad Diamemr (X5) X1 0 20
Dlslance Ee|ween Pads (31 0 41
Distance Eelween Pads (32 o as
Notes:
1 Dwmensioning and to‘erancing per ASME v14 SM
880: Basic Dimenswon Theorencany exact value shown wuhom to‘erances
Microcmp Technology Drawmg No. comaoMA
2002-2012 Microchip Technology Inc. DS21703L-page 33
24AA16/24LC16B
Note: For the most current package drawings, please see the Microchip Packaging Specification located at
http://www.microchip.com/packaging

24AA16/24LC16B
DS21703L-page 34 2002-2012 Microchip Technology Inc.
APPENDIX A: REVISION HISTORY
Revision D (12/2003)
Corrections to Section 1.0, Electrical Characteristics.
Revision E (3/2005)
Added DFN package.
Revision F (9/2005)
Revised Figure 3-2 Control Byte Allocation; Figure 4-1
Byte Write; Figure 4-2 Page Write; Section 6.0 Write
Protection; Figure 7-1 Current Address Read; Figure 7-
2 Random Read; Figure 7-3 Sequential Read; Section
8.3 Write-Protect (WP).
Revision G (02/2007)
Changed 1.8V to 1.7V; Revised Features Section;
Replaced Package Drawings; Revised Product ID
Section.
Revision H (01/2009)
Added TDFN Package; Updated Package Drawings.
Revision J (10/2009)
Added 5-Lead Chip Scale Package.
Revision K (01/2012)
Added Chip Scale Package; Revised Product ID
System.
Revision L (12/2012)
Revised Automotive E-temp.; Product ID System.

2002-2012 Microchip Technology Inc. DS21703L-page 35
24AA16/24LC16B
THE MICROCHIP WEB SITE
Microchip provides online support via our WWW site at
www.microchip.com. This web site is used as a means
to make files and information easily available to
customers. Accessible by using your favorite Internet
browser, the web site contains the following
information:
•Product Support – Data sheets and errata,
application notes and sample programs, design
resources, user’s guides and hardware support
documents, latest software releases and archived
software
•General Technical Support – Frequently Asked
Questions (FAQ), technical support requests,
online discussion groups, Microchip consultant
program member listing
•Business of Microchip – Product selector and
ordering guides, latest Microchip press releases,
listing of seminars and events, listings of
Microchip sales offices, distributors and factory
representatives
CUSTOMER CHANGE NOTIFICATION
SERVICE
Microchip’s customer notification service helps keep
customers current on Microchip products. Subscribers
will receive e-mail notification whenever there are
changes, updates, revisions or errata related to a
specified product family or development tool of interest.
To register, access the Microchip web site at
www.microchip.com. Under “Support”, click on
“Customer Change Notification” and follow the
registration instructions.
CUSTOMER SUPPORT
Users of Microchip products can receive assistance
through several channels:
• Distributor or Representative
• Local Sales Office
• Field Application Engineer (FAE)
• Technical Support
• Development Systems Information Line
Customers should contact their distributor,
representative or field application engineer (FAE) for
support. Local sales offices are also available to help
customers. A listing of sales offices and locations is
included in the back of this document.
Technical support is available through the web site
at: http://microchip.com/support
ns
24AA16/24LC16B
DS21703L-page 36 2002-2012 Microchip Technology Inc.
READER RESPONSE
It is our intention to provide you with the best documentation possible to ensure successful use of your Microchip
product. If you wish to provide your comments on organization, clarity, subject matter, and ways in which our
documentation can better serve you, please FAX your comments to the Technical Publications Manager at
(480) 792-4150.
Please list the following information, and use this outline to provide us with your comments about this document.
TO: Technical Publications Manager
RE: Reader Response
Total Pages Sent ________
From: Name
Company
Address
City / State / ZIP / Country
Telephone: (_______) _________ - _________
Application (optional):
Would you like a reply? Y N
Device: Literature Number:
Questions:
FAX: (______) _________ - _________
DS21703L24AA16/24LC16B
1. What are the best features of this document?
2. How does this document meet your hardware and software development needs?
3. Do you find the organization of this document easy to follow? If not, why?
4. What additions to the document do you think would enhance the structure and subject?
5. What deletions from the document could be made without affecting the overall usefulness?
6. Is there any incorrect or misleading information (what and where)?
7. How would you improve this document?
PART NO.
Dev
2002-2012 Microchip Technology Inc. DS21703L-page 37
24AA16/24LC16B
PRODUCT IDENTIFICATION SYSTEM
To order or obtain information, e.g., on pricing or delivery, refer to the factory or the listed sales office.
PART NO. X/XX
PackageTemperature
Range
Device
24AA16: = 1.7V, 16 Kbit I2C Serial EEPROM
24AA16T: = 1.7V, 16 Kbit I2C Serial EEPROM
(Tape and Reel)
24LC16B: = 2.5V, 16 Kbit I2C Serial EEPROM
24LC16BT: = 2.5V, 16 Kbit I2C Serial EEPROM
(Tape and Reel)
Temperature
Range:
I = -40°C to +85°C
E = -40°C to +125°C
Package:
P = Plastic DIP (300 mil body), 8-lead
SN = Plastic SOIC (3.90 mm body), 8-lead
ST = Plastic TSSOP (4.4 mm), 8-lead
MS = Plastic Micro Small Outline (MSOP),
8-lead
OT = Plastic SOT-23, 5-lead (Tape and Reel
only)
MC = Plastic DFN (2x3x0.90 mm body), 8-lead
MNY(1) = Plastic TDFN, (2x3x0.75 mm body),
8-lead
CS16K (2) = Chip Scale (CS), 5-lead (I-temp, “AA”
Tape and Reel only)
Note 1: “Y” indicates a Nickel Palladium Gold (NiPdAu) finish.
2: “16K” indicates 160K technology.
Examples:
a) 24AA16-I/P: Industrial Temperature,1.7V,
PDIP package
b) 24AA16-I/SN: Industrial Temperature,1.7V,
SOIC package
c) 24AA16T-I/OT: Industrial Temperature,
1.7V, SOT-23 package, Tape and Reel
d) 24AA16T-I/CS16K: Industrial Temperature,
1.7V, Chip Scale package, Tape and Reel
e) 24LC16B-I/P: Industrial Temperature, 2.5V,
PDIP package
f) 24LC16B-E/SN: Automotive Temp.,2.5V
SOIC package
g) 24LC16BT-I/OT: Industrial Temperature,
2.5V, SOT-23 package, Tape and Reel
h) 24AA16T-E/SN: Automotive Temperature,
1.7V, SOIC package, Tape and Reel

24AA16/24LC16B
DS21703L-page 38 2002-2012 Microchip Technology Inc.
NOTES:
YSTEM
2002-2012 Microchip Technology Inc. DS21703L-page 39
Information contained in this publication regarding device
applications and the like is provided only for your convenience
and may be superseded by updates. It is your responsibility to
ensure that your application meets with your specifications.
MICROCHIP MAKES NO REPRESENTATIONS OR
WARRANTIES OF ANY KIND WHETHER EXPRESS OR
IMPLIED, WRITTEN OR ORAL, STATUTORY OR
OTHERWISE, RELATED TO THE INFORMATION,
INCLUDING BUT NOT LIMITED TO ITS CONDITION,
QUALITY, PERFORMANCE, MERCHANTABILITY OR
FITNESS FOR PURPOSE. Microchip disclaims all liability
arising from this information and its use. Use of Microchip
devices in life support and/or safety applications is entirely at
the buyer’s risk, and the buyer agrees to defend, indemnify and
hold harmless Microchip from any and all damages, claims,
suits, or expenses resulting from such use. No licenses are
conveyed, implicitly or otherwise, under any Microchip
intellectual property rights.
Trademarks
The Microchip name and logo, the Microchip logo, dsPIC,
FlashFlex, KEELOQ, KEELOQ logo, MPLAB, PIC, PICmicro,
PICSTART, PIC32 logo, rfPIC, SST, SST Logo, SuperFlash
and UNI/O are registered trademarks of Microchip Technology
Incorporated in the U.S.A. and other countries.
FilterLab, Hampshire, HI-TECH C, Linear Active Thermistor,
MTP, SEEVAL and The Embedded Control Solutions
Company are registered trademarks of Microchip Technology
Incorporated in the U.S.A.
Silicon Storage Technology is a registered trademark of
Microchip Technology Inc. in other countries.
Analog-for-the-Digital Age, Application Maestro, BodyCom,
chipKIT, chipKIT logo, CodeGuard, dsPICDEM,
dsPICDEM.net, dsPICworks, dsSPEAK, ECAN,
ECONOMONITOR, FanSense, HI-TIDE, In-Circuit Serial
Programming, ICSP, Mindi, MiWi, MPASM, MPF, MPLAB
Certified logo, MPLIB, MPLINK, mTouch, Omniscient Code
Generation, PICC, PICC-18, PICDEM, PICDEM.net, PICkit,
PICtail, REAL ICE, rfLAB, Select Mode, SQI, Serial Quad I/O,
Total Endurance, TSHARC, UniWinDriver, WiperLock, ZENA
and Z-Scale are trademarks of Microchip Technology
Incorporated in the U.S.A. and other countries.
SQTP is a service mark of Microchip Technology Incorporated
in the U.S.A.
GestIC and ULPP are registered trademarks of Microchip
Technology Germany II GmbH & Co. & KG, a subsidiary of
Microchip Technology Inc., in other countries.
All other trademarks mentioned herein are property of their
respective companies.
© 2002-2012, Microchip Technology Incorporated, Printed in
the U.S.A., All Rights Reserved.
Printed on recycled paper.
ISBN: 9781620767634
Note the following details of the code protection feature on Microchip devices:
• Microchip products meet the specification contained in their particular Microchip Data Sheet.
• Microchip believes that its family of products is one of the most secure families of its kind on the market today, when used in the
intended manner and under normal conditions.
• There are dishonest and possibly illegal methods used to breach the code protection feature. All of these methods, to our
knowledge, require using the Microchip products in a manner outside the operating specifications contained in Microchip’s Data
Sheets. Most likely, the person doing so is engaged in theft of intellectual property.
• Microchip is willing to work with the customer who is concerned about the integrity of their code.
• Neither Microchip nor any other semiconductor manufacturer can guarantee the security of their code. Code protection does not
mean that we are guaranteeing the product as “unbreakable.”
Code protection is constantly evolving. We at Microchip are committed to continuously improving the code protection features of our
products. Attempts to break Microchip’s code protection feature may be a violation of the Digital Millennium Copyright Act. If such acts
allow unauthorized access to your software or other copyrighted work, you may have a right to sue for relief under that Act.
Microchip received ISO/TS-16949:2009 certification for its worldwide
headquarters, design and wafer fabrication facilities in Chandler and
Tempe, Arizona; Gresham, Oregon and design centers in California
and India. The Company’s quality system processes and procedures
are for its PIC® MCUs and dsPIC® DSCs, KEELOQ® code hopping
devices, Serial EEPROMs, microperipherals, nonvolatile memory and
analog products. In addition, Microchip’s quality system for the design
and manufacture of development systems is ISO 9001:2000 certified.
QUALITY MANAGEMENT S
YSTEM
CERTIFIED BY DNV
== ISO/TS 16949 ==
6‘
MICROCHIP
AMERICAS ASIA/PACIFIC ASIA/PACIFIC EUROPE
DS21703L-page 40 2002-2012 Microchip Technology Inc.
AMERICAS
Corporate Office
2355 West Chandler Blvd.
Chandler, AZ 85224-6199
Tel: 480-792-7200
Fax: 480-792-7277
Technical Support:
http://www.microchip.com/
support
Web Address:
www.microchip.com
Atlanta
Duluth, GA
Tel: 678-957-9614
Fax: 678-957-1455
Boston
Westborough, MA
Tel: 774-760-0087
Fax: 774-760-0088
Chicago
Itasca, IL
Tel: 630-285-0071
Fax: 630-285-0075
Cleveland
Independence, OH
Tel: 216-447-0464
Fax: 216-447-0643
Dallas
Addison, TX
Tel: 972-818-7423
Fax: 972-818-2924
Detroit
Farmington Hills, MI
Tel: 248-538-2250
Fax: 248-538-2260
Indianapolis
Noblesville, IN
Tel: 317-773-8323
Fax: 317-773-5453
Los Angeles
Mission Viejo, CA
Tel: 949-462-9523
Fax: 949-462-9608
Santa Clara
Santa Clara, CA
Tel: 408-961-6444
Fax: 408-961-6445
Toronto
Mississauga, Ontario,
Canada
Tel: 905-673-0699
Fax: 905-673-6509
ASIA/PACIFIC
Asia Pacific Office
Suites 3707-14, 37th Floor
Tower 6, The Gateway
Harbour City, Kowloon
Hong Kong
Tel: 852-2401-1200
Fax: 852-2401-3431
Australia - Sydney
Tel: 61-2-9868-6733
Fax: 61-2-9868-6755
China - Beijing
Tel: 86-10-8569-7000
Fax: 86-10-8528-2104
China - Chengdu
Tel: 86-28-8665-5511
Fax: 86-28-8665-7889
China - Chongqing
Tel: 86-23-8980-9588
Fax: 86-23-8980-9500
China - Hangzhou
Tel: 86-571-2819-3187
Fax: 86-571-2819-3189
China - Hong Kong SAR
Tel: 852-2943-5100
Fax: 852-2401-3431
China - Nanjing
Tel: 86-25-8473-2460
Fax: 86-25-8473-2470
China - Qingdao
Tel: 86-532-8502-7355
Fax: 86-532-8502-7205
China - Shanghai
Tel: 86-21-5407-5533
Fax: 86-21-5407-5066
China - Shenyang
Tel: 86-24-2334-2829
Fax: 86-24-2334-2393
China - Shenzhen
Tel: 86-755-8864-2200
Fax: 86-755-8203-1760
China - Wuhan
Tel: 86-27-5980-5300
Fax: 86-27-5980-5118
China - Xian
Tel: 86-29-8833-7252
Fax: 86-29-8833-7256
China - Xiamen
Tel: 86-592-2388138
Fax: 86-592-2388130
China - Zhuhai
Tel: 86-756-3210040
Fax: 86-756-3210049
ASIA/PACIFIC
India - Bangalore
Tel: 91-80-3090-4444
Fax: 91-80-3090-4123
India - New Delhi
Tel: 91-11-4160-8631
Fax: 91-11-4160-8632
India - Pune
Tel: 91-20-2566-1512
Fax: 91-20-2566-1513
Japan - Osaka
Tel: 81-6-6152-7160
Fax: 81-6-6152-9310
Japan - Tokyo
Tel: 81-3-6880- 3770
Fax: 81-3-6880-3771
Korea - Daegu
Tel: 82-53-744-4301
Fax: 82-53-744-4302
Korea - Seoul
Tel: 82-2-554-7200
Fax: 82-2-558-5932 or
82-2-558-5934
Malaysia - Kuala Lumpur
Tel: 60-3-6201-9857
Fax: 60-3-6201-9859
Malaysia - Penang
Tel: 60-4-227-8870
Fax: 60-4-227-4068
Philippines - Manila
Tel: 63-2-634-9065
Fax: 63-2-634-9069
Singapore
Tel: 65-6334-8870
Fax: 65-6334-8850
Taiwan - Hsin Chu
Tel: 886-3-5778-366
Fax: 886-3-5770-955
Taiwan - Kaohsiung
Tel: 886-7-213-7828
Fax: 886-7-330-9305
Taiwan - Taipei
Tel: 886-2-2508-8600
Fax: 886-2-2508-0102
Thailand - Bangkok
Tel: 66-2-694-1351
Fax: 66-2-694-1350
EUROPE
Austria - Wels
Tel: 43-7242-2244-39
Fax: 43-7242-2244-393
Denmark - Copenhagen
Tel: 45-4450-2828
Fax: 45-4485-2829
France - Paris
Tel: 33-1-69-53-63-20
Fax: 33-1-69-30-90-79
Germany - Munich
Tel: 49-89-627-144-0
Fax: 49-89-627-144-44
Italy - Milan
Tel: 39-0331-742611
Fax: 39-0331-466781
Netherlands - Drunen
Tel: 31-416-690399
Fax: 31-416-690340
Spain - Madrid
Tel: 34-91-708-08-90
Fax: 34-91-708-08-91
UK - Wokingham
Tel: 44-118-921-5869
Fax: 44-118-921-5820
Worldwide Sales and Service
11/29/12
Products related to this Datasheet
IC EEPROM 16K I2C 400KHZ 8SOIC
IC EEPROM 16K I2C 400KHZ 8SOIC
IC EEPROM 16K I2C 400KHZ 8MSOP
IC EEPROM 16K I2C SOT23-5
IC EEPROM 16K I2C 400KHZ 8MSOP
IC EEPROM 16K I2C 400KHZ 8SOIC
IC EEPROM 16K I2C 400KHZ 8TDFN
IC EEPROM 16K I2C SOT23-5
IC EEPROM 16K I2C SOT23-5
IC EEPROM 16K I2C SOT23-5
IC EEPROM 16K I2C 400KHZ 8DFN
IC EEPROM 16K I2C 400KHZ 8TDFN
IC EEPROM 16K I2C 400KHZ 8DFN
IC EEPROM 16KB I2C 400KHZ 8MSOP
IC EEPROM 16K I2C 400KHZ 8TSSOP
IC EEPROM 16K I2C 400KHZ 8SOIC
IC EEPROM 16K I2C 400KHZ 8TSSOP
IC EEPROM 16K I2C 400KHZ 8TSSOP
IC EEPROM 16K I2C 400KHZ 8MSOP
IC EEPROM 16K I2C 400KHZ 8DFN
IC EEPROM 16K I2C 400KHZ 8SOIC
IC EEPROM 16KB I2C 400KHZ 8SOIC
IC EEPROM 16K I2C 400KHZ 8MSOP
IC EEPROM 16K I2C SOT23-5
IC EEPROM 16K I2C 400KHZ 8DIP
IC EEPROM 16K I2C 400KHZ 8TDFN
IC EEPROM 16K I2C SOT23-5
IC EEPROM 16K I2C 400KHZ 8SOIC
IC EEPROM 16K I2C 400KHZ 8SOIC
IC EEPROM 16K I2C 400KHZ 8SOIC